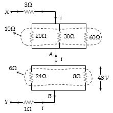
The potential difference across $8\, ohm$ resistance is $48\, volt$ as shown in the figure. The value of potential difference across $X$ and $Y$ points will be ............. $volt$
  • A$160$
  • B$128$
  • C$80$
  • D$62$
Diffcult
art

Download our app
and get started for free

Experience the future of education. Simply download our apps or reach out to us for more information. Let's shape the future of learning together!No signup needed.*

Similar Questions

  • 1
    A storage battery has $e.m.f.$ $15\, volts$ and internal resistance $0.05\, ohm$. Its terminal voltage when it is delivering $10\, ampere$ is ............... $volts$
    View Solution
  • 2
    Consider the circuit shown in the figure. The current $I_3$ is equal to
    View Solution
  • 3
    In the given figure switches $S_{1}$ and $S_{2}$ are in open condition. The resistance across $a b$ when the switches $S_{1}$ and $S_{2}$ are closed is $...\,\Omega$
    View Solution
  • 4
    A potentiometer $PQ$ is set up to compare two resistances as shown in the figure. The ameter $A$ in the circuit reads $1.0\, A$ when two way key $K_3$ is open. The balance point is at a length $l_1\, cm$ from $P$ when two way key $K_3$ is plugged in between $2$ and $1$ , while the balance point is at a length $l_2\, cm$ from $P$ when key $K_3$ is plugged in between $3$ and $1$ . The ratio of two resistances $\frac{{{R_1}}}{{{R_2}}}$ is found to be
    View Solution
  • 5
    The drift velocity of electrons in silver wire with cross-sectional area $3.14 \times 10^{-6}\,m ^2$ carrying a current of $20\,A$ is. Given atomic weight of $Ag =108$ , density of silver $=10.5 \times 10^3\,kg / m ^3..........\times 10^{-4} m / sec$.
    View Solution
  • 6
    The given figure represents an arrangement of potentiometer for the calculation of internal resistance $(r)$ of the unknown battery $(E)$. The balance length is $70.0\, cm$ with the key opened and $60.0\,cm$ with the key closed. $R$ is $132.40 \Omega $. The internal resistance $(r)$ of the unknown cell will be.......$\Omega$ (Given $E_o > E$) :-
    View Solution
  • 7
    Variation of current passing through a conductor as the voltage applied across its ends as varied is shown in the adjoining diagram. If the resistance $(R)$ is determined at the points $A$, $B$, $C$ and $D$, we will find that
    View Solution
  • 8
    A conductor behaves as a superconductor
    View Solution
  • 9
    Referring to the figure below, the effective resistance of the network is
    View Solution
  • 10
    When the key $K$ is pressed at time $t = 0$, which of the following statements about the current $I$ in the resistor $AB$ of the given circuit is true
    View Solution