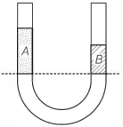
As density of $B$ is more than that of $A$, a small volume of $B$ weighs equals to a large volume of $A$.
Hence, if we draw a horizontal line from bottom of column of $A$, then a lesser
length column of $B$ must appear above this line in other limb of U-tube. It is as shown below.
This is shown in option $(c)$.




Figure: $Image$
$1.$ As the bubble moves upwards, besides the buoyancy force the following forces are acting on it
$(A)$ Only the force of gravity
$(B)$ The force due to gravity and the force due to the pressure of the liquid
$(C)$ The force due to gravity, the force due to the pressure of the liquid and the force due to viscosity of the liquid
$(D)$ The force due to gravity and the force due to viscosity of the liquid
$2.$ When the gas bubble is at a height $\mathrm{y}$ from the bottom, its temperature is
$(A)$ $\mathrm{T}_0\left(\frac{\mathrm{P}_0+\rho_0 \mathrm{gH}}{\mathrm{P}_0+\rho_t \mathrm{gy}}\right)^{2 / 5}$
$(B)$ $T_0\left(\frac{P_0+\rho_t g(H-y)}{P_0+\rho_t g H}\right)^{2 / 5}$
$(C)$ $\mathrm{T}_0\left(\frac{\mathrm{P}_0+\rho_t \mathrm{gH}}{\mathrm{P}_0+\rho_t \mathrm{gy}}\right)^{3 / 5}$
$(D)$ $T_0\left(\frac{P_0+\rho_t g(H-y)}{P_0+\rho_t g H}\right)^{3 / 5}$
$3.$ The buoyancy force acting on the gas bubble is (Assume $R$ is the universal gas constant)
$(A)$ $\rho_t \mathrm{nRgT}_0 \frac{\left(\mathrm{P}_0+\rho_t \mathrm{gH}\right)^{2 / 5}}{\left(\mathrm{P}_0+\rho_t \mathrm{gy}\right)^{7 / 5}}$
$(B)$ $\frac{\rho_{\ell} \mathrm{nRgT}_0}{\left(\mathrm{P}_0+\rho_{\ell} \mathrm{gH}\right)^{2 / 5}\left[\mathrm{P}_0+\rho_{\ell} \mathrm{g}(\mathrm{H}-\mathrm{y})\right]^{3 / 5}}$
$(C)$ $\rho_t \mathrm{nRgT} \frac{\left(\mathrm{P}_0+\rho_t g \mathrm{H}\right)^{3 / 5}}{\left(\mathrm{P}_0+\rho_t g \mathrm{~g}\right)^{8 / 5}}$
$(D)$ $\frac{\rho_{\ell} \mathrm{nRgT}_0}{\left(\mathrm{P}_0+\rho_{\ell} \mathrm{gH}\right)^{3 / 5}\left[\mathrm{P}_0+\rho_t \mathrm{~g}(\mathrm{H}-\mathrm{y})\right]^{2 / 5}}$
Give the answer question $1,2,$ and $3.$