c
(c)
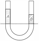
As density of $B$ is more than that of $A$, a small volume of $B$ weighs equals to a large volume of $A$.
Hence, if we draw a horizontal line from bottom of column of $A$, then a lesser
length column of $B$ must appear above this line in other limb of U-tube. It is as shown below.
This is shown in option $(c)$.
